Retrofitting e Reforço de Edifícios
Retrofitting e Reforço de Edifícios

Select language

















Retrofitting e Reforço de Edifícios
Tecnologia de retrofit e reforço de apartamentos para estudantes com fibra de carbono unidirecional e chapa de aço

Visão geral do projeto
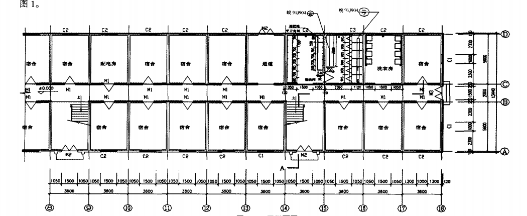
O apartamento dos estudantes foi construído na altura da fundação da Universidade de Anhui. A estrutura original tem uma área total de construção de 234,2 m², uma estrutura de tijolo e betão de três andares, com um piso de betão moldado in loco. O apartamento está em utilização há 40 anos. Parte das vigas de betão da estrutura original foi completamente carbonizada e as barras de aço estão gravemente corroídas. Existem grandes fissuras em alguns pisos e a capacidade de suporte é insuficiente, o que afeta gravemente a estrutura.

Inspeção de estrutura
Após a inspeção no terreno, verificou-se que as vigas e lajes de betão do primeiro e segundo pisos da estrutura original estavam completamente carbonizadas, as barras de aço estavam gravemente corroídas e a capacidade de suporte era insuficiente. Existem fissuras diagonais relativamente grandes em parte da área de canto da laje, e devem ser tomadas certas medidas de reforço para estas partes com capacidade de suporte insuficiente, de modo a garantir a segurança da utilização após a renovação da estrutura original.
Construção de retrofit e reforço
O telhado do primeiro piso e a viga do telhado do segundo piso apresentam fissuras e resistência sísmica insuficiente, pelo que as partes acima referidas são reforçadas.
1) Laje de pavimento reforçada com fibra de carbono
A laje do piso é reforçada com uma rede de fibra de carbono de 100 de largura e um layout de malha inferior de 300 passagens
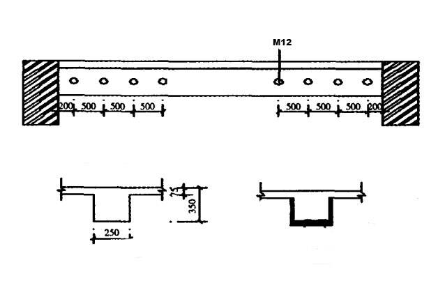
2) Revestimento de aço da viga
Utilize placas de aço com 10 mm de espessura para reforçar os três lados da viga de betão

Conclusão
As alterações na utilização dos edifícios ou a adição de equipamentos envolvem inevitavelmente transformações e reforços estruturais. No projeto de reconstrução e reforço, as características da estrutura original e as exigências do proprietário devem ser plenamente consideradas. O plano de reconstrução e reforço deve ser elaborado de acordo com as condições locais e deve ser considerada a viabilidade da construção.